
“Electric wire rope hoist or electric chain hoist — which one should you choose?”
After 3 years in the hoist industry, this is one of the most common questions I get from buyers.
And here's the truth: There is no “better” option — only the one that truly fits your application.
Quick Selection Guide: Choose the Right Hoist in 10 Seconds
Choose Electric Chain Hoist if:
- You handle light to medium loads (0.5–5t)
- Your lifting height is short(≤4m)
- Your workspace is limited or compact
- You need smooth operation and precise positioning(e.g., assembly lines, mold manufacturing)
- You want a more cost-effective solution
Choose Electric Wire Rope Hoist if:
- You handle heavy loads (0.5t–16t)
- You need long lifting height (6–30m or more)
- Your application allows for larger installation space
- You require high durability and continuous heavy-duty use
- You prioritize high working efficiency
Note: All the above factors should be considered together to ensure the most suitable hoist selection for your application.
Performance Comparison: Key Technical Differences
| Electric Wire Rope Hoist | Electric Chain Hoist | |
| Capacity(t) | 0.5-16 | 0.5-5 |
| Lifting Height(m) | 6-30 | 4 |
| Lifting Speed(m/min) | 8 | 7.1-3.3 |
| Lifting Power(KW) | 0.8-13 | 1.5-3.75 |
| Traveling Speed(m/min) | 20/30 | 11/21 |
| Traveling Power(KW) | 0.2-1.6 | 0.4-0.75 |
| Tensile Strength(N/mm²) | 2160 | 800 |
Load Capacity: Can It Handle Your Job?
- Electric Wire Rope Hoist: Covers 0.5t–16t and is the only reliable solution for heavy-duty lifting above 5t. Ideal for heavy materials and large equipment installation.
- Electric Chain Hoist: Limited to 0.5t–5t, designed for light to medium-duty applications with high frequency.
Lifting Height: Do You Need More Travel Distance?
- Electric Wire Rope Hoist: Standard lifting height ranges from 6–30m, suitable for tall buildings, deep pits, and high storage systems.
- Electric Chain Hoist: Standard lifting height is only 4m. Higher lift requires customization, increasing cost and complexity.
Speed & Efficiency: How Fast Do You Need to Move?
- Electric Wire Rope Hoist: Stable lifting speed (8 m/min) with higher efficiency in long-distance operations and faster hook return.
- Electric Chain Hoist: Speed ranges from 3.3–7.1 m/min depending on capacity. Smoother but less efficient over long distances.
Power & Performance: Is It Strong Enough?
- Electric Wire Rope Hoist: Lifting power up to 13 kW, capable of handling heavy loads with strong safety margins.
- Electric Chain Hoist: Lower power range, more energy-efficient for small loads but limited in heavy-duty scenarios.
Operation Experience: Smooth or Fast?
- Electric Wire Rope Hoist: Faster traveling speed (20/30 m/min), ideal for long-distance material transfer.
- Electric Chain Hoist: Slower but smoother (11/21 m/min), better for precise positioning and frequent start-stop operations.
Durability: Which One Lasts Longer Under Load?
- Electric Wire Rope Hoist: Tensile strength up to 2160 N/mm² — about 2.7× stronger than chain. Better wear resistance and long-term reliability under heavy loads.
- Electric Chain Hoist: Tensile strength around 800 N/mm², suitable for light-duty use but more prone to wear under continuous heavy load.
Price Comparison: The Real Cost Difference
| Capacity | Lifting Height | Electric Wire Rope Hoist Price | Lifting Height | Electric Chain Hoist Price |
| 0.5t | 6m | $670 | 4m | $430 |
| 1t | 6m | $735 | 4m | $550 |
| 2t | 6m | $980 | 4m | $630 |
| 3t | 6m | $1,110 | 4m | $730 |
| 5t | 6m | $1,515 | 4m | $995 |
Key Takeaways:
- Electric Chain Hoist: Lower upfront cost, making it ideal for budget-sensitive and light-duty applications.
- Electric Wire Rope Hoist: Higher initial investment, but delivers better performance, higher capacity, and longer service life in heavy-duty environments.
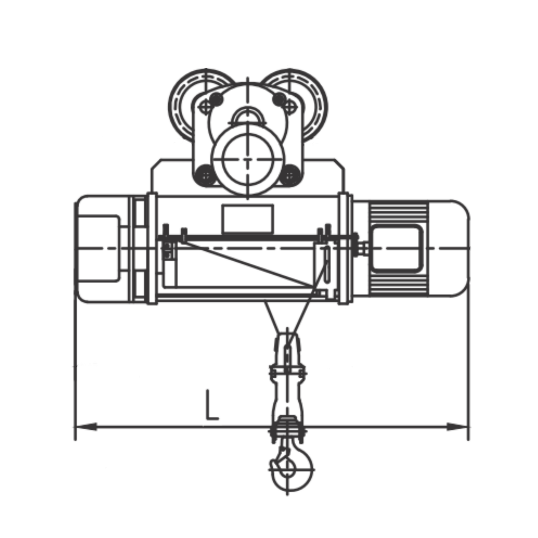
Installation Space: Will It Fit Your Site?
| Capacity | Electric Wire Rope Hoist Length (mm) | Electric Chain Hoist Length (mm) |
![]() | ![]() | |
| 0.5t | 616 | 460 |
| 1t | 758 | 520 |
| 2t | 820 | 520 |
| 3t | 932 | 620 |
| 5t | 1047 | 620 |
Key Takeaways:
- Electric Chain Hoist: Compact structure with chain bag design, no drum required — ideal for tight spaces.
- Electric Wire Rope Hoist: Requires a drum system, resulting in larger dimensions and higher space requirements.
Final Recommendation:
- If your priority is cost, compact size, and precision → Chain Hoist
- If your priority is capacity, height, and efficiency → Wire Rope Hoist
The wrong choice doesn't just cost more — it affects efficiency, safety, and long-term reliability.
Not sure which hoist fits your project?
Send me your requirements — I'll help you select the most cost-effective and reliable solution.

